發布于:2019/5/28 8:56:59 點擊量:1155
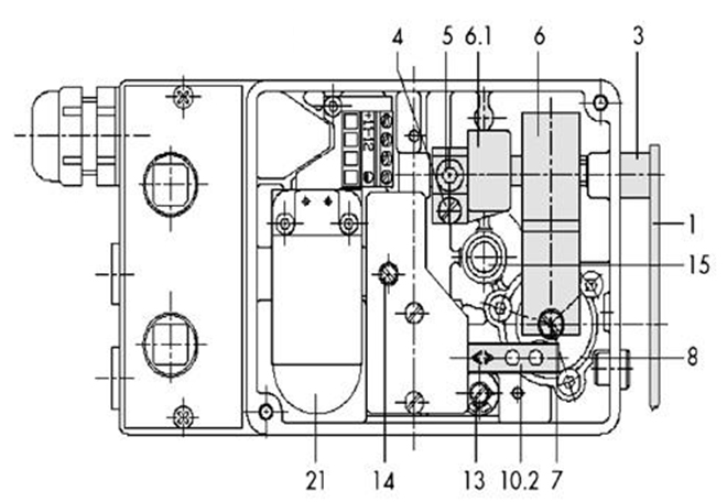
以SAMSON 的4763 電/氣閥門定位器(圖1A)為例,定位器主要組成部分見圖2。

圖2
1.反饋桿(1) 2.反饋彈簧(6) 3.反饋風箱(7) 4. 氣動功率放大器(7下部) 5. 電/氣轉換器(21)
1. 模擬定位器
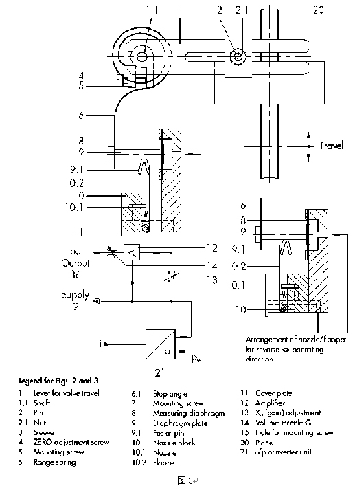
我們還是以SAMSON的4763定位器為例(參考圖3)。我們設:調節閥為FC(氣開);定位器為正作用

A)閥位根據輸入信號成比例動作
輸入信號↑→Pe 點氣壓↑→反饋風箱中連桿(9)向左動作→壓緊彈簧(6),擋板(10.2)靠近噴嘴(10.1)→輸出風壓↑→閥桿(對于氣開閥)↑→壓緊彈簧(6)→反饋風箱中連桿(9)向右動作→擋板(10.2)離開噴嘴(10.1)→輸出氣壓(Pst)↓。當反饋彈簧的力與反饋風箱的力平衡時,閥位保持與輸入信號對應的位置。
B)定位
當輸入信號不變時:由于工藝條件變化導致閥桿↑→壓緊執行器彈簧→壓緊彈簧(6)→反饋風箱中連桿(9)向右動作→擋板(10.2)離開噴嘴(10.1)→輸出氣壓↓→由執行器向下的彈簧力使閥位回到原來的地方。
由于工藝條件變化導致閥桿↓→放松執行器彈簧→放松彈簧(6)→反饋風箱中連桿(9)向左動作→擋板(10.2)靠近噴嘴(10.1)→輸出氣壓↑→使執行器向上運動使閥位回到原來的地方。
閥門定位器有輸入信號但是調節閥不動作,原因大多是電 磁鐵組件發生故障或是供氣壓力不對,建議換電磁鐵組件或檢查氣 源壓力。
閥門定位器沒有輸出壓力。原因為空氣中的灰塵,雜質沒 有過濾徹底,導致節流孔堵死,或者是噴嘴擋板位置不正確,繼動 器有缺陷等,處理辦法用0.2mm鋼絲疏通節流孔,更換繼動器 等。
輸出壓力緩慢或不正常。在日常生產運行中,調節閥不斷 的動作,會導致調節閥的膜頭受損、漏氣,造成有輸入信號但調節 閥動作緩慢的故障,使調節閥達不到及時調節的效果,處理辦法檢 查膜室,更換膜片。
本文網址:http://www.tuhm.cn/news/detail/20190528085659.html
杜伯拉調節閥相關產品 | |
以上調節閥根據現場工況不同可選擇電動執行機構控制,詳情咨詢杜伯拉閥門0571-88194369 | |
版權所有 © 自力式壓力調節閥-氣動調節閥-電動調節閥-氮封閥廠家 浙ICP備18052799號-2